
◆ 产品特性:
♦ QGBN系列超低摩擦气缸,是以皮囊为传动介质的气缸,系灵敏反应的气动执行元件;
♦ 内置直线滚珠轴承使反应更灵敏;
♦ 能跟踪轻微的压力变动。
◆ 使用细则:
♦ 活塞杆不能受横向力;
♦ 活塞杆不宜受扭转力;
♦ 管路中不要喷油雾,不要装油雾器。
◆ 技术参数:
| 工作介质 | 净化的无给油的压缩空气 |
| 使用压力(MPa) | 0.01--0.7 |
| 耐压 | 1.5MPa |
| 介质、环境温度 | 0-60℃ |
◆ 型号说明:

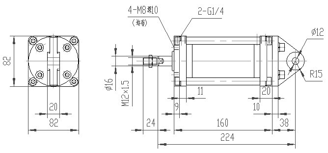
QGBN63×78 超低磨擦气缸外形图

QGBN63×78-MP4 带单耳环的超低磨擦气缸外形图
